發布時間:2023-10-23 08:51:03 來源:管理員 點擊數:
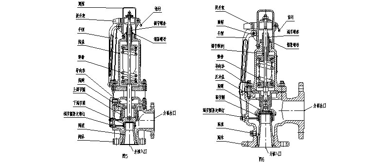
上海大香蕉网址无遮挡所提供安全閥,按標準規定在常溫下進行出廠試驗,而安全閥實際工況和常溫整定調壓存在溫差,故而造成常溫定壓和實際工況兩者之間整定壓力(開啟壓力)的偏差。為此對具有較大溫差的安全閥必須進行熱態調壓。其調整的內容一般分整定壓力(開啟壓力)的調整和排放與回座壓力的調整。下麵以我單位的兩種產品(見圖5,圖6)為例作詳細描述。

1. 整定壓力(開啟壓力)的調整
打開上鉛封,拆去提升架卸下閥帽,鬆開鎖緊螺母,在彈簧規定的工作壓力範圍內,旋轉調節螺套改變彈簧的預緊壓縮量,對開啟壓力進行調整。調整時先緩慢升高閥進口壓力,使閥門起跳一次,若開啟壓力偏低,卸去閥門進口壓力,按順時針方向旋緊調節螺套,若開啟壓力偏高,則按逆時針方向旋鬆之,當調整到所需的開啟壓力後,將鎖緊螺母並緊裝好閥帽,若所要求的開啟壓力超出彈簧所規定的工作壓力範圍,則需更換另一根不同工作壓力級的彈簧,然後重新進行調整。在調換彈簧後,應改變銘牌上的相應數據。
調整整定壓力應注意下列各項:
⑴ 在調整前應將閥門內腔清洗幹淨,並使用清潔介質調試。
⑵ 當閥前壓力接近開啟壓力(即超過開啟壓力的80%)時,不能旋轉調節螺套,以防閥瓣旋轉,損傷密封麵。
⑶ 在條件許可情況下,應盡可能采用與實際工作條件相接近的介質參數進行調整以保證開啟壓力值的準確性。
若不可能采用與實際工作條件相同的介質調整開啟壓力時,則氣體或蒸汽用安全閥可使用空氣介質調整整定壓力;液體或水用安全閥,可用常溫水調整,當實際所使用介質溫度與調整時介質的溫度相差較大時,應考慮溫度補償。
⑷ 調整整定壓力用壓力表應定期校驗,其精度不低於一級,定壓壓力值應在壓力表量程的三分之一至三分之二的範圍內,表盤直徑應大於等於100毫米。
2. 排放壓力和回座壓力的調整
⑴ 對開啟壓力已調整好的安全閥,若排放壓力或回座壓力不符合要求,則可利用改變調節圈的位置來調整,安全閥結構有單調節圈和雙調節圈之分(見圖5,圖6)。調整步驟是先打開下鉛封,擰鬆調節圈緊定螺釘,然後用細鐵棒之類工具,從螺孔中伸進便可拔動調節圈齒輪。若安全閥出口無連接管也可直接從出口處伸入細鐵棒進行調整。為了安全起見在調整前,應使閥進口壓力適當降低(一般應低於開啟壓力的80%),以防止在調整時閥門突然開啟,發生事故。
⑵ 每次調整時調節圈旋轉的幅度不宜過大,一般以2-5齒為宜,調整結束後應隨即將調節圈緊定螺釘擰緊,並使螺釘的端部位於調節圈兩齒之間的凹槽內,以防止調節圈的鬆動。
⑶ 對有上、下調節圈的安全閥,一般先調整下調節圈,使排放壓力達到預定值,後調整上調節圈,調試時可能出現相互幹擾現象,應反複調整直到滿意為止。
當逆時針方向旋轉下調節圈時,其位置上升,排放壓力降低,而回座壓力也有所下降;反之,當順時針方向旋轉時,其位置下降,排放壓力上升,但回座壓力也隨之略有增加。
上調節圈逆時針旋轉時,其位置上升,回座壓力升高,排放壓力略有升高,反之,當上調節圈位置下調時,能幫助安全閥閥瓣開啟,其回座壓力降低,排放壓力也有所降低。
⑷ 調整排放壓力與回座壓力用的試驗台應有足夠大的氣源流量,以保證閥門達到全開啟時(即達到安全閥的全開高度時)才可以測試,否則所測得的排放壓力,回座壓力數值是不真實的。
⑸ 調整後的上、下調節圈之間的相對位置不能靠得過於接近,否則會影響閥的排量。一般情況下,上下調節圈之間的環形麵積應不小於閥座喉部的截麵積。
⑹ 調試過程中應避免出現不正常的動作,如頻跳、顫振等,以防止損壞密封麵。
總之,熱態調壓是一項複雜細致的工作,供需雙方必須共同協作,一般情況下,用戶單位可按《安全閥安裝使用說明書》中的有關內容介紹,自行完成調壓,對用戶要求我單位上門調壓的,根據用戶所在地區和閥門的價格,在共同協商的基礎上,收取一定的服務費用。